Heat Shrinkable Wire Connectors
GAST-H consists of an outer layer of polyvinylidene fluoride (PVDF) heat shrink tubing, an inner PVDF hot-melt adhesive ring, and a solder ring. It is suitable for in-line connection of electrical wires, with a transparent outer layer for clear visual inspection of the wire connection process.The solder ring ensures the soldering and fixation of conductors, while the outer heat-shrink tubing provides protection for wire connections. The hot-melt adhesive ring delivers excellent waterproofing and environmental protection for the sealed area.One single heating process simultaneously completes soldering, protection, and sealing, improving installation efficiency and reducing assembly costs.
Powered by Froala Editor
FEATURES
- Shrink ratio: 2:1
- Hot melt adhesive provides waterproof function
- Solder sleeve design makes the soldering process easier
- Excellent flame retardance
- High temperature resistance
- Insulation and strain relief
Powered by Froala Editor
TYPICAL APPLICATIONS
- Continuous operating temperature: -55˚C~150˚C
- Minimum shrink temperature: 130˚C
- Full recovery temperature: Above 175˚C
- Full melting temperature of solder: 200˚C
Standard color : Blue
Powered by Froala Editor
Powered by Froala Editor
TECHNICAL DATA
| Property | Specification requirement | Test method | Typical value |
| Dielectric strength | ≥19.7kV/mm. | ASTM D 2671 | 2.0 kV/mm |
| Composition of solder | - | - | Sn/Pb |
| Dielectric voltage withstand | AC2500V/60S No breakdown | ASTM D 2671 | No breakdown |
| Flammability | VW-1 | UL224 | Pass |
Powered by Froala Editor
Powered by Froala Editor
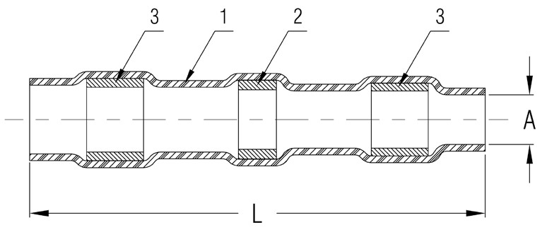
DIMENSIONS


- 1.Heat shrinkable tubing
- 2.Low temperature solder sleeve
- 3.Waterproof hot melt adhesive
Part namber | Product dimensions (mm) | Wire dimensions (mm) | Selection Guide | Standard color | |||
A (min) | L (min) | B (min) | B&C (max) | C (min) | Total mm2 (AWG) min.-max. | ||
GAST-H01 | 1.8 | 16 | 1.0 | 1.7 | 0.76 | 0.25-0.34(26-24) | Blue |
GAST-H02 | 2.7 | 17 | 1.4 | 2.7 | 1.2 | 0.5-1.0(22-18) | Blue |
GAST-H03 | 4.5 | 17 | 2.3 | 4.5 | 2.0 | 1.5-2.5(16-14) | Blue |
GAST-H04 | 6.0 | 21 | 3.7 | 6.0 | 3.4 | 12-10(4.0-6.0) | Blue |
GAST-H05 | 7.0 | 21 | 3.8 | 7.3 | 3.5 | 10(8) | Blue |
Powered by Froala Editor
Powered by Froala Editor
Powered by Froala Editor
Powered by Froala Editor
Powered by Froala Editor